
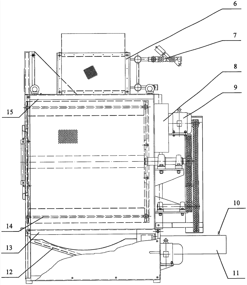
工業蒸汽加熱烘干機,包括電腦板,面板,門,行程開關,蒸汽熱交換器,電動閥,蒸汽壓力表,傳動系統,內滾籠,外筒,框架;面板安在框架的正面,電腦板設置在面板上部,電氣控制箱在框架內的右后上部,蒸汽熱交換器安裝在框架內的上部,外筒裝在框架中間部位,外筒中間為內滾籠,內滾籠連接傳動系統;電腦板與傳動系統中電機的開關電路相連接,控制電機的開停機工作;外筒前端面板處裝有門,門上安裝行程開關,行程開關發送信號到電腦板;外筒下部連接
1.蒸汽加熱烘干機,其特征在于:包括蒸汽壓力表(1),電腦板(2),面板(3),門(5),行程開關(4),蒸汽熱交換器(6),傳動系統(9),內滾籠(14),外筒(15),框架(13);面
板(3)安在框架(13)的正面,面板上安裝有蒸汽壓力表(1),電腦板(2)設置在面板(3)右上部,蒸汽熱交換器(6)安裝在框架(13)內的上部,蒸汽熱交換器(6)上裝有電動閥(7),外筒
(15)裝在框架(13)中間部位,外筒(15)中間為內滾籠(14),內滾籠(14)連接傳動系統(9);電腦板(2)通過電氣控制箱(8)與傳動系統(9)中的電機的開關電路相連接,控制電機的開
停機工作;外筒(15)前端面板處裝有門(5),門(5)上安裝行程開關(4),行程開關(4)發送信號電氣控制箱(8)到電腦板(2);外筒(15)下部連接抽濕系統(12),抽濕系統(12)尾部連
接出風口(11)。
烘干機散熱器原名熱交換器又叫烘干機加熱器分蒸汽型烘干機散熱器,導熱油烘干機散熱器和電加熱型烘干機散熱器三種。蒸汽型烘干機散熱器由銅管和鋁串片組成,導熱油烘
干機散熱器由無縫鋼管和串片組成,電加熱烘干機散熱器由紅外線電熱管和錐形支架組成產品用于工業烘干機加熱進行熱交換從而使洗滌脫水后的織物快速烘干。
上一條 : 工業脫水機對電源有哪些要求
下一條 : 醫院布草洗滌要點,醫院洗衣房設備有哪些
手機:18705266909
電話:18705266909
郵箱:1241007328@qq.com
地址:泰州市開發區鮑徐路66號